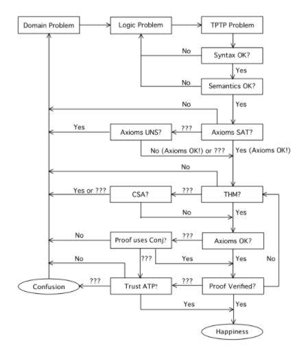
Table of contents Introduction Landscape part-1 - Theorem prover as a system Accomplishments Theorem Proving Systems - Tradeoffs & Architectures Landscape part-2 - Distribution of efforts across provers Conclusion Introduction A quick recap. In “ ”, we covered how humans approached formal mathematical proofs, then introduced early attempts at machine proofs and ended with this picture depicting our journey to Centaur Theorem Provers. : The story of machine proofs — Part-1 ( Figure-1 ) Figure-1 : Centaur Theorem Provers Journey We’ll dig into both the machine-only and human-in-the-loop provers but here’s what you can expect to take away from part-2 of this series: of theorem provers; Landscape : Where they differ from one another; Comparison : How close machines have gotten to humans in automated reasoning Status check One point to note is that humans have been in the loop for a while now so it is more the degree of their involvement that has changed over the years. As noted back in 1969 in , the idea isn’t new. Semi-Automated Mathematics [Guard et al.] “Semi-automated mathematics is an approach to theorem-proving which seeks to combine automatic logic routines with ordinary proof procedures in such a manner that the resulting procedure is both efficient and subject to human intervention in the form of control and guidance. Because it makes the mathematician an essential factor in the quest to establish theorems, this approach is a departure from the usual theorem-proving attempts in which the computer unaided seeks to establish proofs.” But it has required deliberate attention and effort to generate human readable proofs or any intermediate meaningful representations at critical stages of the pipeline in order to allow humans to guide the machine and co-create proofs. Let’s start with some wins from in the last few decades: computer assisted proofs [1976] Four color theorem [1982] ’s universality conjecture in non-linear dynamics Mitchell Feigenbaum [1988] Connect Four [1989] Non-existence of a finite of order 10 projective plane [1996] Robbins conjecture [1998] , the problem of optimal sphere packing in a box Kepler conjecture [2002] , –14th of Lorenz attractor Smale’s problems [2006] 17-point case of the Happy Ending problem [2008] of NP-hardness minimum-weight triangulation [2010] can be obtained in at most 20 face moves Optimal solutions for Rubik’s Cube [2012] Minimum number of clues for a solvable is 17 Sudoku puzzle [2014] A special case of the was solved using a Erdős discrepancy problem SAT-solver [2016] Boolean Pythagorean triples problem [2019] for the Kazhdan’s property (T) automorphism group of a free groupof rank at least five A note on mentioned above - It is a very important concept in the context of theorem provers. SAT stands for SATisfiability. The idea is that if we can replace variables in a boolean expression or formula by TRUE or FALSE such that the formula evaluates to TRUE, then we consider it to be satisfiable. This turns out to be an NP-complete problem, that is, there is currently known algorithm (yet to be “proven” though — see ) that can solve all possible input instances in polynomial time. That said, A SAT-solver uses efficient heuristic approaches and approximations and is heavily used to solve problems in the semiconductor space, AI and Automated Theorem Proving. Just within EDA (Electronic Design Automation) where I spent over 15 years I’ve seen it be actively used for combinational equivalence checking, logic optimizations, circuit delay computation, bounded model checking and test pattern generation. SAT-solver NO P vs NP Back to theorem provers … Landscape part-1 - Theorem prover as a system “Names don’t constitute knowledge!” To get at the landscape, I boiled the ocean a bit and compiled several efforts around automated reasoning from theorem provers and verifiers to related tools and languages risking some redundancy and scope creep. But at this point I’d rather it be an overkill than a best-of list so that we get to see the field in its entirety. Here’s a flat list ( ) organized alphabetically with most if not all efforts in the last few decades. Figure-2 Figure-2 : Efforts in automated theorem provers Really? A perfect 10 x 16 table with 160 cells? I either got lucky or just kept finding new ones until there was diminishing returns. (the latter!). Feynman would have taken one look at that table and said what do you want me to do with 160 names? “Names don’t constitute knowledge!”. Here’s a short “blast” from the past that is very well worth the watch: ( Source : https://www.youtube.com/watch?v=lFIYKmos3-s) Even if I say those names are indices into strategies and tactics for theorem proving such as graph based resolution, induction, model generation, proof planning, semi-automatic interactive interfaces, programmability, predicate logic, , constraint solvers etc. I wouldn’t be adding much value as they’re still just names, perhaps a tad bit more descriptive. intuitionistic multi-valued logic So how then do we slice and dice the above list? Maybe by categories of logical systems and reasoning engines (resolution, interactive, induction, satisfiability checking, model checking, constraint solvers…)? Or something like what the “ ” (yes, museum!) does? Their goal is to archive all systems with source code and metadata. They compiled 30 odd theorem provers dating back to 1955 (Logic Theorist) and 1960 (OTTER). The highlighted cells in below are ones from the museum. theorem prover museum Figure-3 Figure-3: Highlighted cells from the theorem prover museum But another compilation, a more interesting one is Freek Wiedijk’s “ in which he asked authors working on the top active (at the time — 2005) theorem provers to provide their machine proof for the same one problem — irrationality of sqrt(2). The Seventeen Provers of the World” While I had explored different approaches to the Pythagoraean theorem across time in going back all the way to the Babylonian tablet (Plimpton 322), what I really like about Freek’s approach is the structure and template with targeted questions that he provided to the authors making it easier to compare different approaches to the same problem. We will spend a considerable portion of part-2 discussing his paper. If you’re curious which theorem provers he picked (or got responses for), see below. Only 4 of his 17 appear in the museum above — IMPS, LEGO, Omega and OTTER. part-1 Figure-4 ( Figure-4: [2005] The Seventeen Provers of the World Theorem Prover as a system Before we get into why or how theorem provers differ from one another, let us frame the prover as a system with input, output and a process. shows a blackbox that is fed with a theorem. And the output is a proof. Figure-5 Figure-5 : TP System Let us expand further on the system notion with a concrete example: Theorem: “The sum of two even integers is even”. So the above theorem is our input. Wait! The words theorem, lemma, proposition and corollary are sometimes used interchangeably as the differences are mildly subjective. And the word is typically reserved for a strong or major result that has been proven to be true. is a relatively minor result popularly acknowledged as a helping or auxiliary theorem. is even less important but interesting still. And is a consequent result that can be readily deduced from a theorem. For our purposes, let’s then go with just a plain as input to the engine before we elevate its status to that of a theorem ( - ) theorem Lemma Proposition corollary statement Figure 6 Figure-6 Now to prove the statement “The sum of two even integers is even”, we need to first understand everything about that statement, i.e. surface all prior knowledge about the terms and concepts involved ( ). Figure-7 Figure-7 Prior knowledge in this example includes definitions and properties of integers some of which are assumed to be true i.e. axioms. Here’s what we know about integers ( ) Figure-8 Figure-8 : Theorem Description Figure-9 That statement was deceptively simple! The one input has grown to 3 inputs to include axioms and definitions as shown in and will grow to 4 ( ) when we pull in previously proven theorems. Figure-9 Figure-10 Figure-10 Now we need to know what to do with the knowledge, i.e. strategies and clear rules on how to use the knowledge about the statement ( ) Figure-11 Figure-11 Let us shift attention to the right hand side, i.e. the output. A proof assistant can not only provide the construction of a proof but also check the validity of a proof (Is the statement true or false) and additionally generate counterexamples. So the system can have multiple outputs as well. We call them proof checkers or verifiers. Figure-12 The above system holds true for all theorem provers. But what exactly happens inside an automated theorem prover (ATP)? shows a flowchart for the from ( housands of roblems for heorem rovers) which begins with checking syntax and semantics, then checking the consistency and satisfiability of the axioms followed by establishing a logical consequence before proving the theorem and verifying the proof. Figure-12 Figure-13 ATP process TPTP T P T P Figure-13 ATP Flowchart http://tptp.org/Seminars/TPTPWorldTutorial/ATPProcess.html Source: So where do all provers differ? The answer to that lies in the fundamental building blocks of AI — Representation and Reasoning. : What formal language do we use for mapping the world to the machine; Representation “ Each formalism has its intrinsic axioms as the starting point for the prover. Nevertheless, custom axioms can help the prover advance more rapidly with the resolution process in the next step. : What algorithms do we use to manipulate the formal expressions. Additionally how the rules are generated (human experts, machine learned or hybrid) is important. “ Reasoning The prover has several techniques at its disposal to process the theorems and the system description. Some examples, among many others, are: Rewriting — substitute terms to simplify computations; Skolemization — elimination of existential quantifiers (∃), leaving only universal ones (∀); Tableaux — break down a theorem into its constituent parts and prove or refute them separately ”. The blackbox in our once-simple system essentially breaks down as shown in where reasoning is split into the formalism and the reasoning . Figure-14 logical engine Figure-14 We’ll use the above template to walkthrough . Freek’s seventeen theorem provers Sidenote : While I have reframed the authors’ responses to Freek’s question so as to fit the above template, I would like to acknowledge that the underlying content is entirely from the paper and any error in translation/representation is solely my responsibility. I would also suggest that you refer to the paper for a richer and more detailed explanation of each solution. Do you have to go through all 17 provers? Not necessary. But if you’re curious, it can be interesting. My suggestion would be to skim through the notes in the and just glance at the input and output to get a sense of what the machines take in and spit out. In some of the provers further down, the proofs are too long (like IMPS, Metamath, Nuprl) to even print here so they’ve been compressed to fit the template and will be hard to read anyway. I still wanted them in here to give readers a sense of the formats and readability. If after a few it seems overwhelming feel free to jump ahead to the accomplishments section. centre table How to read the picture? The input on the left hand side includes the statement to be proven along with relevant definitions both specified in the language (i.e. REPRESENTATION in green box). The output proof also typically uses the same language. The LOGIC (yellow box) and ENGINE (blue box) together give us the rules and approaches to operate on the input. For instance, in the PVS prover the inputs are written in common LISP using a higher order logic system. Operations such as induction, rewriting, symbolic model checking or simplification using decision procedures will be applied on the input to generate proof chains. In PVS, the user can interact by creating specification files, type checking them and providing proofs. 1. HOL: Higher Order Logic Theorem Prover Figure-15 : HOL shows the going from LCF (Logic of Computable Functions) to HOL (Higher Order Logic). Figure-16 family tree of provers Figure-16: HOL Family Tree 2. Mizar Figure-17: Mizar References: http://mizar.org/ Presenting and Explaining Mizar Josef Urban: Geuvers, H. Proof assistants: History, ideas and future 3. PVS (Prototype Verification System) PVS is an interactive theorem prover. The philosophy behind the PVS logic has been to exploit mechanization in order to augment the expressiveness of the logic Figure-18 PVS References: An Integrated Development Environment for the Prototype Verification System — Paolo Masci, Cesar A. Munoz 4. Coq Figure-19 : Coq : References Coq Proof Assistant Coq in a Hurry — Yves Bertot rganized echniques for heorem-Proving and ffective esearch) 5. OTTER (O T T E R Figure-20 : OTTER : References OTTER and Mace2 Theorem Provers Survey — R. Castello, and R. Mili 6. Isabelle Figure-21 Isabelle References: From LCF to Isabelle/HOL 7. Alfa/Agda Figure-22: Agda References: Integrating an Automated Theorem Prover into Agda Constructive and Non-Constructive Proofs in Agda (Part 2): Agda in a Nutshell 8. ACL2 (“A Computational Logic for Applicative Common Lisp”) is a software system consisting of a programming language, an extensible theory in a first-order logic, and an automated . ACL2 theorem prover Figure-23 : ACL2 9. PhoX Figure-24: PhoX : Reference The PhoX Proof Assistant 10. IMPS Figure-25: IMPS : Reference https://github.com/theoremprover-museum/imps — William M. Farmer, Joshua D. Guttman, F. Javier Thayer IMPS: An Interactive Mathematical Proof System 11. Metamath Figure-26: Metamath : Reference Metamath Proof Explorer Home Page Metamath Zero: The Cartesian Theorem Prover 12. Theorema Figure-27: Theorema : Reference The Theorema Environment for Interactive Proof Development 13. LEGO Figure-28: LEGO : Reference The LEGO Proof Assistant 14. Nuprl Figure-29 : Nuprl : Reference Nuprl Tutorial 15. Omega Figure-30: Omega 16. B method Figure 31 : B Method : Reference — David Déharbe, Stephan Merz Software Component Design with the B Method — A Formalization in Isabelle/HOL 17. Minlog Figure-32: Minlog : Reference The Minlog System — Ulrich Berger, Kenji Miyamoto, Helmut Schwichtenberg, and Monika Seisenberger Minlog — A Tool for Program Extraction Supporting Algebras and Coalgebras Accomplishments: Formalizations by provers In the tables below ( , we can see an impressive list of formalizations from some of the above provers. Figures 33–35) Figure 33 Source: http://www.cs.ru.nl/~freek/comparison/comparison.pdf Figure 34 Source: http://www.cs.ru.nl/~freek/comparison/comparison.pdf Figure 35 Source: http://www.cs.ru.nl/~freek/comparison/comparison.pdf Theorem Proving Systems: Tradeoffs & Architectures Tradeoffs As shown in the above sections, even among just these 17 provers some use higher order logic, first order logic and ZFC set theory while others use Tarski-Grothendieck set theory which is a of ZFC that includes the Tarski’s axiom to . Some use Hilbert-style axiomatic systems while others use Jaskowski’s system of where proofs are based on the use of but dropped under some conditions. Some use classical logic systems while others use or constructive logic which is a wherein the law of excluded middle and double negation elimination have been removed. And one uses , a variant of Church’s simple type theory non-conservative extension help prove more theorems natural deduction assumptions which are freely introduced intuitionistic restriction of classical logic LUTINS ( ogic of ndefined erms for nference in a atural tyles) L U T I N S Type theory was originally introduced in contrast to set theory to and is known to be more expressive. But expressiveness tends to impact automation negatively. As noted in this article “ ”: ( ) avoid paradoxes A Survey on Formal Verification Techniques for Safety-Critical Systems-on-Chip Figure-36 “ ” …increase in expressiveness has the inverse effect on automation. The more expressive a logic is, the less automated it can be. This means that tools for higher-order logic usually work iteratively, where the user is responsible for providing simpler proofs to help guide the verification process. Figure-36 Source: https://www.mdpi.com/2079-9292/7/6/81 With each choice there is a . But to help tease these tradeoffs out in a foolproof or reliable and faster way, we need help. The turnaround time for humans to spot an error, correct it and re-check can be far too long. Around 1900, Bertrand Russell, a mathematician, logician and philosopher found a bug (Russell’s paradox) in set theory which eventually led to the discovery/invention of type theory. A hundred years later around 2000, (a Fields medalist) finds an error in his own paper (written seven years earlier!) which leads to the discovery/invention of univalent foundations. Voevodsky notes in this article titled the following: tradeoff Vladimir Voevodsky The Origins and Motivations of Univalent Foundations “ ” In 1999–2000, again at the IAS, I was giving a series of lectures, and Pierre Deligne (Professor in the School of Mathematics) was taking notes and checking every step of my arguments. Only then did I discover that the proof of a key lemma in my paper contained a mistake and that the lemma, as stated, could not be salvaged. Fortunately, I was able to prove a weaker and more complicated lemma, which turned out to be sufficient for all applications. A corrected sequence of arguments was published in 2006. This story got me scared. Starting from 1993, multiple groups of mathematicians studied my paper at seminars and used it in their work and none of them noticed the mistake. And it clearly was not an accident. A technical argument by a trusted author, which is hard to check and looks similar to arguments known to be correct, is hardly ever checked in detail. Voevodsky goes on to propose a new to provide for mathematics, based on relations between homotopy and type theory. This helped formalize a considerable amount of mathematics and proof assistants such as Coq and Agda moving the needle in ATP. homotypy type theory univalent foundations Choices such as set theory versus type theory are so core to automated reasoning that this field needs a much deeper understanding of the fundamentals of mathematics and hence needs a lot more mathematicians to work alongside computer scientists, logicians and philosophers to accelerate progress. In this very nicely written article titled , the author talks about a recent cross disciplinary collaboration which we need more of: Will Computers Redefine the Roots of Math? Along with Thierry Coquand , a computer scientist at the University of Gothenburg in Sweden, Voevodsky and Awodey organized a special research year to take place at IAS during the 2012–2013 academic year. More than thirty computer scientists, logicians and mathematicians came from around the world to participate . Voevodsky said the ideas they discussed were so strange that at the outset, “there wasn’t a single person there who was entirely comfortable with it.” The ideas may have been slightly alien, but they were also exciting. Shulman deferred the start of a new job in order to take part in the project. “ I think a lot of us felt we were on the cusp of something big, something really important ,” he said, “and it was worth making some sacrifices to be involved with the genesis of it.” Architectures One trend to note is that the complexity of theorem provers has slowly been growing from simple systems to , i.e. pulling in the best reasoners from multiple sources. But this also means that maintaining such systems (for performance, robustness, accuracy, reliability) is getting harder. Let’s take a sneak peak at the architectures of some of them: ACL2, Omega, LEAN, ALLIGATOR, iGeoTutor/GeoLogic, Matryoshka and Keymaera. system of systems ACL2 We saw ACL2 earlier. It has an IDE supporting several modes of interaction, it provides a powerful termination analysis engine and has automatic bug-finding methods. Most notably, ACL2 (and its precursor Nqthm) won the (Boyer-Moore Theorem Prover) which is awarded to software systems that have had a lasting influence. shows a high-level flow. ACM Software System Award in 2005 Figure-37 Figure-37: ACL2 Architecture Source: https://www.cs.utexas.edu/~moore/acl2/current/manual/index.html?topic=ACL2____ACL2_02System_02Architecture Omega We saw Omega earlier as well. Interesting to note here ( ) is how external reasoners (like OTTER, SPASS for first-order or TPS, LEO for higher order) are invoked as needed. Figure-38 Figure-38: Omega Architecture Source: https ://page.mi.fu-berlin.de/cbenzmueller/papers/C11.pdf LEAN is an open source theorem prover developed at . It is based on the logical foundations of CiC ( ) and has a small trusted kernel. It brings together tools and approaches into a common framework to allow for user interaction hence bringing ATP and ITP closer. shows some of the key modules. LEAN Microsoft Research and CMU Calculus of Inductive Constructions Figure-39 Figure-39 Source: https://leanprover.github.io/presentations/20150717_CICM/#/ ALLGATOR ALLIGATOR is a natural deduction theorem prover based on dependent type systems. It breaks goals down and generates (text files with assertions leading to a conclusion), an interesting part of the architecture shown in . As noted in the paper “ ”, the authors identify the following key advantages of having proof objects: proof objects Figure-40 The ALLIGATOR Theorem Prover for Dependent Type Systems: Description and Proof Sample : Satisfies de Bruijn’s criterion that an algorithm can check the proof objects easily. : Based on natural deduction (closer to human reasoning — less axiomatic) : Proof objects can identify proofs which are valid but spurious (do not consume their premises) : Proof objects provide direct access to the justifications that an agent has for the conclusions and the interpretations that it constructs, i.e. more explainability. Reliability Naturalness Relevance Justification of behavior Figure-40 Source: https://www.aclweb.org/anthology/W06-3918.pdf iGeoTutor and GeoLogic An important goal in efforts like iGeoTutor (See ) in and GeoLogic is to generate more human readable proofs in geometry. is a logic system for Euclidean geometry allowing users to interact with the logic system and visualize the geometry (equal distances, point being on a line …). Here’s a detailed presentation by dating back to efforts in 1959 by H.Gelerntner (See ) Automated Geometry Theorem Proving for Human-Readable Proofs Figure-40 GeoLogic Pedro Quaresma on Geometric Automated Theorem Proving Realization of a geometry-theorem proving machine Figure 41 — GeoTutor Architecture Matryoshka fuses two lines of research — Automated Theorem Proving and Interactive Theorem Proving. These systems are based on the premise that first-order (FO) provers are best suited for performing most of the logical work but they go on to to enrich (Resolution+Rewriting) and (Satisfiability Module Theories) with higher-order (HO) reasoning to preserve their desirable properties ( and ) Matryoshka superposition SMT Figure-42 Figure-43 Figure-42 Source: https://matryoshka-project.github.io/ Figure-43 Source: https://matryoshka-project.github.io/ KeYmaera KeYmaera is a theorem prover for for verifying properties of hybrid systems (i.e. mixed discrete and continuous dynamics). shows three big parts to the system — the axiomatic core, the tactical prover and the user interface. The architecture gives us a sense of the multiple moving parts. differential dynamic logic Figure-44 Figure-44 KeYmaera Architecture: https://www.ls.cs.cmu.edu/KeYmaeraX/documentation.html What I do find missing though is a single picture describing the entire that captures key dimensions and situates automated and interactive theorem provers, Lean based provers, resolution and , SMT and SAT provers, model checkers, equational reasoning, quantifier-free combination of first order theories, and the more recent machine learning based ones. Maybe it exists but neither could I find one easily and nor am I currently qualified (as an ATP enthusiast) enough to weave one together (perhaps a future project). I did like this taxonomy from back in 1999 in the paper “ ” but it is dated and limited to first-order theorem proving ( ). design space of theorem provers Tableau provers conflict-driven theory combination A taxonomy of theorem-proving strategies Figure-45 Figure-45 Source: http://profs.sci.univr.it/~bonacina/papers/LNAI1600-1999taxonomy.pdf Landscape (part 2) — Distribution of efforts One of the on theorem provers showed a significant percentage of efforts are first order logic provers ( ) and the most popular calculus of reasoning is deduction. ( ) surveys Figure-46 Figure-47 Figure 46 Source: https://arxiv.org/pdf/1912.03028.pdf Figure 47 Source: https://arxiv.org/pdf/1912.03028.pdf Look at the variety of languages used across provers. They range from and its dialects like OCaml (Objective Categorical Abstract Machine Language), Prolog, Pascal, Mathematica, Lisp and its dialect Scheme to more esoteric specification languages like (exclusively for Coq). Other theorem provers not mentioned here use Scala, C/C++, Java, SML or Haskell. As for the reasoning engines, some use functional programming, some have a proof plan with goals that are automatically broken down into sub-goals, some are interactive while others pull in multiple external reasoning systems or model checkers. ML (MetaLanguage) Gallina The same above also broke down the programming designs ( ) and languages ( ) across provers indicating that close to a quarter of the efforts use functional programming with OCaml as the choice of language. survey Figure-48 Figure-49 Figure 48 Source: https://arxiv.org/pdf/1912.03028.pdf Figure 49 Source: https://arxiv.org/pdf/1912.03028.pdf In addition to the above differences, as noted in “ ”, there are some criteria like de Bruijn’s criterion and Poincare’s principle to help determine how good a prover is. According to the de Bruijn criterion . That is known as the ‘proof kernel’. So if a prover has a small proof kernel, then it improves the reliability. shows which provers satisfy the criterion and which don’t. A Survey on Theorem Provers in Formal Methods “the correctness of the mathematics in the system should be guaranteed by a small checker” generate proofs that can be certified by a simple, separate checker Figure-50 Figure-50 Source: https://arxiv.org/pdf/1912.03028.pdf And a theorem prover satisfies the Poincare principle, if it has the ability to automatically prove the correctness of calculations or smaller trivial tasks. shows which provers satisfy the principle and which don’t. Figure-51 Figure-51 Source: https://arxiv.org/pdf/1912.03028.pdf Here’s a comparison ( ) of the 17 provers from . A “+’ means its present and a “-” that it is not. Figure-52 Freek’s paper Figure-52 Source: http://www.cs.ru.nl/~freek/comparison/comparison.pdf In summary, here’s the distribution of theorem provers as per the ( ) survey Figure-53 Figure 53 Source: https://arxiv.org/pdf/1912.03028.pdf Conclusion Let’s return to the promised takeaways: : We saw a huge dump of 160 efforts out of which we looked at 17 provers with some of their proofs. We further looked at the architectures of a handful of provers noting the emerging complexity of software systems. Landscape : We compared the logical systems, the representation and reasoning engines across multiple provers calling out some success criteria and dominating efforts. Comparison : To address this, let us revisit the comparison table (Figure-) from . But a quick digression first: Status Check part-1 In the article, , Stephanie Dick quotes Larry Wos and Steve Winker as having said this in their contribution to a 1983 conference on ATP: “The Work of Proof in the Age of Human–Machine Collaboration“ “Proving theorems in mathematics and in logic is too complex a task for total automation, for it requires insight, deep thought , and much knowledge and experience .” joined Argonne National Laboratory in 1957 and began using computers to prove mathematical theorems in 1963. What is amazing is that he is still working on it! Wos and his colleague at Argonne were the first to win the Automated Theorem Proving Prize in 1982. Larry Wos With that, lets get back to the original table below ( ): Figure-54 Figure-54 Part-1 status And our updated table with an extra column to the right below: ( ) Figure-55 Figure-55 Part 2 Status At a high level, it appears that theorem provers have gotten better with logical systems, explainability, geometric reasoning and model checking. There remain issues with graceful failures when decidability and satisfiability cannot be determined. There isn’t much yet on learning and “imagining/generating scenarios”. To borrow from Wos’s and Winker’s statement above, we are still missing the experience (learning), the insight and deep-thought (what I call imagination) bits. And that is precisely what we will dig into in our next and final part. We’ll venture into the role that machine learning, transformers, deep neural networks and commonsense reasoning are beginning to play in the ATP/ITP space. Stay tuned … Also published here: https://becominghuman.ai/the-story-of-machine-proofs-part-ii-f97dfa5655ea